Jak ustawić krańcówki w karniszu Somfy Glydea Ultra WT sterowanym z Ampio, Grenton, Loxone lub KNX?
Czym są napędy fazowe Somfy i jak działają?
Napędy fazowe Somfy, takie jak Glydea Ultra WT, to silniki przeznaczone do karniszy elektrycznych, które sterowane są z klasycznej instalacji elektrycznej (np włącznikiem ściennym monostabilnym) lub z systemów smart home (np. Ampio, KNX, Grenton, Loxone), a także z automatyki KNX. Zamiast komunikacji bezprzewodowej – jak w wersjach RTS – wykorzystują przewodowe zasilania na parze przewodów dla jednego z kierunków (np. „otwórz” lub „zamknij”). Dzięki temu doskonale nadają się do integracji z automatyką budynkową. Posiadają funkcję automatycznej kalibracji położeń krańcowych oraz przydatną opcję luzowania tkaniny.
Automatyczne ustawianie krańcówek
Napędy fazowe Somfy Glydea Ultra WT do zasłon obsługiwanych poprzez moduły smart home np. Ampio, Grenton czy Loxone przy pierwszym podłączeniu dokonują automatycznego ustawienia położeń krańcowych tzw. krańcówek.
Dlaczego warto włączyć luzowanie tkaniny?
Warto skorzystać z wbudowanej funkcji luzowania tkaniny. Prawidłowa konfiguracja jest kluczowa dla bezawaryjnej pracy napędu i komfortu użytkowania. Sprawdź, jak to zrobić.
1. Podłącz zasilanie dla jednego kierunku
Podczas pierwszej konfiguracji napędu, jedna z faz sterujących (np. „Otwórz”) musi być podłączona do zasilania. Wprowadź zmianę w ustawieniach modułu smart Ampio, Grenton, Loxone, automatyki KNX – lub tymczasowo podłącz poza instalacją inteligentnego domu jedną fazę napędu do zasilania np. przewód L1 (brąz). Podanie zasilania jest kluczowe, bo napęd Glydea Ultra WT automatycznie dokona kalibracji wykrywając przeciążenia przy końcach szyny. Zasilając wyłącznie jeden kierunek działania zasłon napęd Ultra WT ustawi krańcówki dla obydwu położeń krańcowych
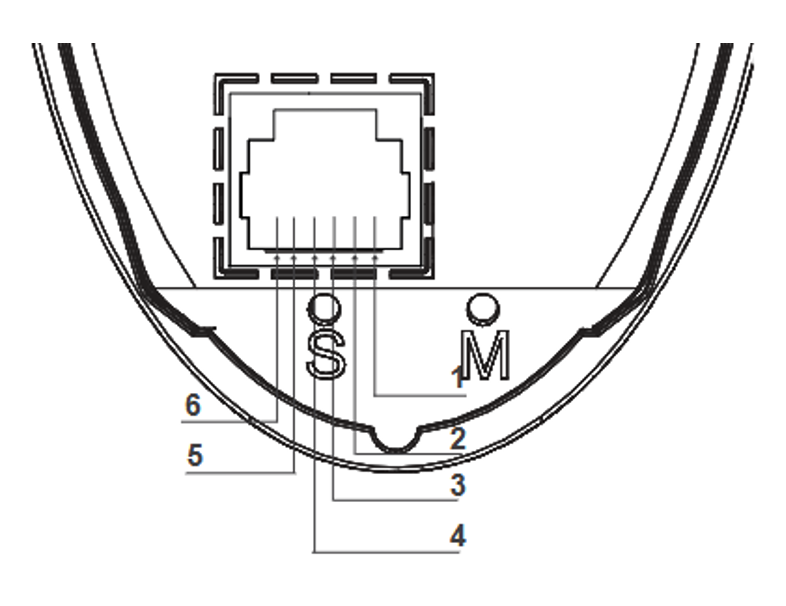
2. Wejście w tryb programowania
Zlokalizuj na obudowie napędu dwa małe przyciski: “M” (Mode) oraz “S” (Set). Przygotuj cienki narzędzie (np. rozgięty spinacz) do obsługi tych dwóch przycisków. Naciśnij i przytrzymaj przycisk M aż zielona dioda LED na silniku zaświeci się ciągłym światłem – sygnał wejścia w tryb ustawiania krańcówek. (Jeśli w dowolnym momencie chcesz przerwać tryb ustawiania, ponowne przytrzymanie przycisku M do zgaśnięcia LED spowoduje wyjście z programowania)
3. Automatyczne uczenie się krańcówek
Pozostając w trybie ustawiania, utrzymuj ciągłe zasilanie w tym samym kierunku (np. cały czas załączony sygnał “Otwórz”).
Napęd sam rozpocznie procedurę nauki:
– zasłona ruszy w jedną stronę do skrajnego położenia
– następnie sam zmieni kierunek i uruchomi przejazd do przeciwległego skrajnego położenia, ustalając automatycznie oba krańcowe punkty (otwarcia i zamknięcia)
– trzeci przejazd automatycznie nastąpi po wykryciu obu końcówek
Silnik powróci do pierwotnej pozycji z normalną prędkością.(!) Nie wyłączaj zasilania sterującego podczas tej operacji – napęd sam zatrzyma się po zakończeniu procesu.
(Uwaga: W odróżnieniu od manualnego ustawiania krańcówek w innych napędach np. RTS / DCT, silnik Glydea Ultra WT samodzielnie, przeciążeniowo “uczy się” położeń końcowych dzięki wykrywaniu oporów na końcach szyny.
NIE NALEŻY RĘCZNIE ZATRZYMYWAĆ ZASŁONY – silnik wykona kalibrację automatycznie)
4. Sprawdzenie i zmiana kierunku działania
Sprawdź, czy komenda “Otwórz” rzeczywiście rozsuwa zasłonę, a “Zamknij” zasuwa. Jeżeli zauważysz, że kierunki są odwrócone (np. sygnał “Otwórz” zamyka zasłonę), skoryguj to w trybie programowania: naciśnij krótko przycisk S – spowoduje to odwrócenie kierunku pracy napędu (dioda zielona zmieni tryb migania/informacji o kierunku). Zatwierdź zmianę naciskając przycisk M (czerwona dioda zaświeci, a silnik przejdzie do kolejnego etapu). Po tej zmianie polecenia wydawane z modułów Ampio, Grenton czy Loxone będą już poprawnie odpowiadać ruchowi zasłony.
5. Zapisanie ustawień i wyjście
Jeśli silnik zakończył procedurę nauki krańcówek (i opcjonalnie funkcję luzowania – patrz niżej), zakończ programowanie. W tym celu naciśnij i przytrzymaj przycisk M przez ok. 2 sekundy, aż kontrolka LED zgaśnie. Odłącz stałe zasilanie kierunkowe (lub wyłącz tryb programowania w module Ampio, Grenton, Loxone). Napęd powraca do normalnej pracy ze zapamiętanymi krańcówkami.
Jak ustawić funkcję luzowania tkaniny w Somfy Glydea Ultra WT?
Opcja luzowania tkaniny – co to takiego?
To bardzo ważna funkcja w napędach fazowych. Sprawia, że po pełnym rozsunięciu zasłon napęd przesuwa zasłonę, by poluzować tkaninę lub ustawić zasłonę w optymalnym miejscu do parkowania. Przykładem działania funkcji może być długa szyna, która w połowie zawieszona jest nad oknem, a w połowie tkanina będzie zasłaniać ścianę. Dzięki wprowadzeniu tej funkcji zasłony przy otwieraniu przesuwane są do pełnego otwarcia, następnie wracają – by zatrzymać się na końcu ścianki, nie wchodząc w światło okna.
Funkcja luzowania tkaniny – co to jest i jak ją ustawić?
(Wejście w tryb programowania: wciśnij i przytrzymaj M – napęd znajdzie się w 1 trybie programowania: czyli „zmiana kierunku działania napędu” – każde wciśnięcie S zmienia kierunek działania napędu. Kolejne wciśnięcie M wprowadzi do 2 trybu programowania: zmiany funkcji LUZOWANIA TKANINY)
1. Przejście do drugiego trybu programowania
Wejdź w tryb programowania: przytrzymaj M, a następnie naciśnij M ponownie, aby przejść do trybu ustawiania luzu.
WAŻNE: Upewnij się, że napęd (w trybie programowania) ustawił zasłonę w położeniu całkowicie otwartym (rozsuniętym).
Jeśli nie, wyzwól odpowiedni kierunek tak, aby zasłona znalazła się na krańcowym punkcie OTWÓRZ (góra) – czyli tam, gdzie tkanina jest maksymalnie zsunięta na boki.
2. Ustawienie pozycji parkowania
Ustaw pozycję luzu: przycisk S jednokrotnie lub kilkakrotnie (silnik jest w tzw. trybie sekwencyjnym) – czyli każde naciśnięcie przesunie zasłonę w przeciwnym kierunku tak by precyzyjnie ustawić miejsce parkowania zasłon.
3. Zatwierdzenie ustawień
Zapisz ustawienia: naciśnij przycisk M aby zapisać nowe ustawienie. Napęd potwierdzi zaprogramowanie funkcji luzowania – dioda LED zacznie migać na przemian na zielono i czerwono, a zasłona automatycznie wykona krótki ruch “otwórz/zamknij”. Jest to normalne – silnik testuje nowo ustawioną pozycję luzu.
Funkcja luzowania tkaniny została aktywowana – od tej pory przy osiągnięciu krańcowej pozycji silnik będzie automatycznie przesuwał zasłonę w odwrotnym kierunku odsuwając od pakietu ściśniętych na szynie suwaków.
Kiedy funkcja luzowania jest konieczna?
- Funkcja ZALECANA – Jeżeli zasłony przesuwane są na całej długości szyny – czyli w pełnych zakresach < otwórz / zamknij > funkcja może rozluźnić ściśniętą po otwarciu tkaninę odsuwając ramię o dowolnie ustaloną wartość.
- Funkcja KONIECZNA – dla zasłon, które nie powinny przesuwać się do końca szyny, czyli gdy mają pełnić funkcję dekoracyjną – zasłaniać część ściany bocznej po pełnym otwarciu.Standardowo napęd działa w zakresie automatycznie ustawionych krańcówek. Ale uwaga… zapamiętane np. w połowie szyny miejsce pełnego otwarcia będzie uwzględniane wyłącznie dla poleceń pełnego otwarcia. Jeżeli zasłony zostaną zatrzymane w dowolnym, wcześniejszym miejscu po ponownym uruchomieniu, napęd fazowy WT nie rozpoznaje swojej pozycji startowej. W tym przypadku po uruchomieniu próbuje wyszukać koniec szyny. Będzie więc działał do momentu napotkania oporu (np. suwaków) Uwaga: przeciążeniowe zatrzymanie zasłony zostanie zapamiętana jako nowa pozycja krańcowa i będzie powodować efekt niedomykania zasłon przy zasłanianiu.
Resetowanie napędu – jak przywrócić ustawienia fabryczne?
Jeśli potrzebujesz zresetować wszystkie ustawienia i zaprogramować napęd od nowa – np. w razie pomyłki lub zmiany ilości miejsca parkowania np. po zmianie ilości suwaków – przytrzymaj przycisk S aż do trzykrotnego krótkiego ruchu zasłony. Taki “potrójny ruch” oznacza skasowanie pamięci silnika i powrót do ustawień fabrycznych)
Wiecęj ustawień znajdziesz w instrukcji Somfy Glydea Ultra WT


